产品中心
您当前位置:产品中心 >> 水力控制阀系列 >> SY4P-Y型过滤器
SY4P-Y型过滤器
产品概述
SY4P-Y型过滤器是输送介质的管道系列的一种装置,通常安装在减压阀、泄压阀、定水位阀或其它设备的入口端,用来拦截介质中的杂质,以保护阀门及设备的正常使用。该过滤器具有结构,阻力小,排污方便等特点。适用介质可为水,油、气。可按用户要求制作滤网,其外型基本相同(Y型),内部件采用不锈钢。当需要清洗时,只要将可拆卸的滤筒取出,去除滤出的杂质后,重新装入,使用维护方便。该过滤器体形小、滤眼细、阻力小、安装检修方便、成本较低、并排污时间短。
产品详情

主要技术参数

壳体材质

球墨铸铁

碳钢(WCB碳素钢、铸钢)

不锈钢

公称通径

15~500mm

滤框滤网材质

不锈钢

密封件材质

耐油石棉、丁腈橡胶、聚四氟乙烯

工作温度(℃)

-30~380

-80~425

-80~450

公称压力(MPa)

1.6~42(150Lb~2500Lb)

过滤精度(目/in)

10~300




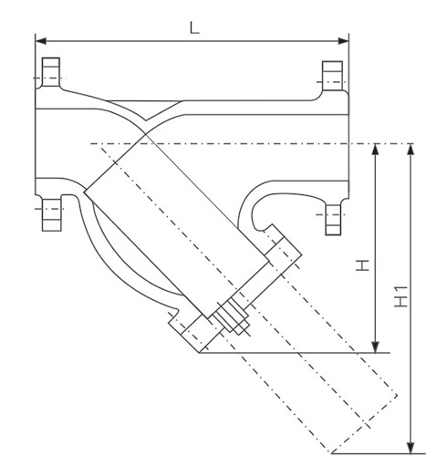
主要外形连接尺寸

DN

65

80

100

125

150

200

250

300

350

400

450

500

L

螺纹

-

-

-

-

-

-

-

-

-

-

-

-

法兰

250

280

350

400

440

500

580

670

780

850

850

100

H

螺纹

-

-

-

-

-

-

-

-

-

-

-

-

法兰

198

210

250

305

358

450

503

578

598

618

693

765

H1

螺纹

-

-

-

-

-

-

-

-

-

-

-

-

法兰

270

295

344

422

485

602

710

815

844

872

978

1080

下一个产品:PQ340F-偏心半球阀


0578-6878373
qrCode