技术规范
公称压力:PN1.6MPa
工作介质:水、非腐蚀性液体(≤0.6MPa)
工作温度:-10℃≤t≤100℃
管螺纹标准:符合ISO228标准
产品应用
黄铜止回阀精度高,外观美,造型小,带有弹簧装置,垂直与水平安装均可等特点,主要适应管道系统中防止介质倒流使用。止回阀一般适用于清净介质,不宜用于含有固体颗粒和粘度较大的介质,为了防止介质逆流,在设备、装置和管道上都应安装止回阀。
使用范围
1、黄铜止回阀产品选用优质铜材采用红冲锻造工艺。
2、立式软密封结构材料为硅橡胶,弹簧材料为不锈钢。
3、止回阀主要用于介质单向流动的管路上,能自动阻止流体(介质)倒流,只允许介质向一个方向流动。工作介质为水、油、气,公称压力为1.6MPa,工作温度-10℃≤ t ≤120℃。

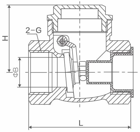
主要外形连接尺寸
DN(mm)
NPS(in)
L
ΦB
H
2-G
15
1/2
48
13
34
1/2
20
3/4
59
17
40.5
3/4
25
1
68
23
46
1
32
11/4
78
30
51.5
11/4
40
11/2
88
35
57.5
11/2
50
2
105
45
68.5
2
65
21/2
130
63
85.5
21/2
80
3
147
75
95.5
3
100
4
180
93
116.5
4