产品中心
您当前位置:产品中心 >> 其他阀门 >> B2F-限位伸缩接头
B2F-限位伸缩接头
产品概述
伸缩器是泵、阀门、管道等设备与管道连接的,通过全螺栓把它们连接起来,使其成为一个整体,并有一定的位移量,这样就可以在安装维修时,根据现场安装尺寸进行调整,在工作时,可以把轴向推力传还至整个管道系统。这样不仅提高工作效率,而切对泵、阀们等管道设备起到一定保护作用。
产品详情

主要技术参数

压力等级

1.0MPa

1.6MPa

测试等级

强度

1.5MPa

2.4MPa

密封

1.1MPa

1.76MPa

温度

-10℃~80℃

介质

清水






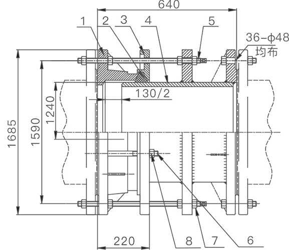
主要外形连接尺寸

DN

DW

D

K

L

δ

no-do

C1

C2

n1-Th*S

n1-Th*S3

n-Th

400

426

580

525

400

32.5

16-Φ30

28

38

4-M20*145

4-M20*280

16-M20

500

480

640

585

400

32.5

20-Φ30

30

42

5-M20*145

5-M20*280

20-M20

450

530

715

650

400

32.5

20-Φ33

32

46

5-M20*145

5-M20*280

20-M20

600

630

840

770

400

32.5

20-Φ36

36

54

5-M20*145

5-M20*280

20-M20

700

720

910

840

400

32.5

24-Φ36

40

40

6-M20*145

6-M20*280

24-M20

800

820

1025

950

600

65

24-Φ39

43

42

6-M24*240

6-M24*460

24-M24

900

920

1125

1050

600

65

28-Φ39

47

44

7-M24*240

7-M24*460

28-M24

1000

1202

1225

1170

600

65

28-Φ39

50

46

7-M24*240

7-M24*460

28-M24

1200

1220

1485

1390

600

65

32-Φ48

57

52

8-M24*240

8-M24*460

32-M24

1400

1420

1685

1590

640

65

36-Φ48

60

58

9-M24*240

9-M24*460

36-M24

1600

1620

1930

1820

640

65

40-Φ55

65

64

10-M24*240

10-M24*460

40-M27

1800

1820

2130

2020

640

65

44-Φ55

70

68

11-M24*240

11-M24*460

44-M27

下一个产品:C2F-传力接头
上一个产品:PQ340F-偏心半球阀


0578-6878373
qrCode